
方榮精機工業有限公司矯直機生產廠家,矯直機又稱:調直機,矯正機,校直機等,今天為朋友分享自動矯直機的工作原理
1 自動矯直機的工作原理
本論文設計的自動矯直機采用壓點式矯直原理,由左右兩個V型塊作為支點,加載機構驅動壓頭對待矯軸進行加壓,使待矯軸發生彈塑性變形消除待矯軸的彎曲變形而實現矯直。

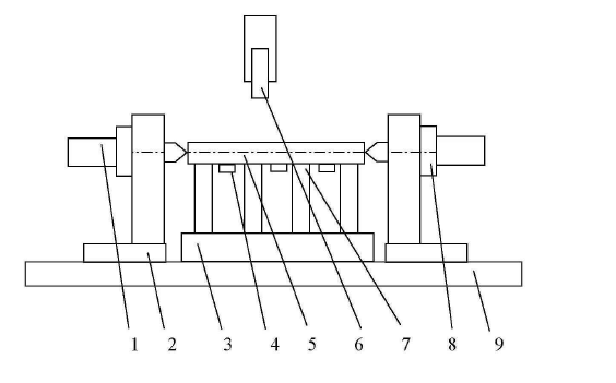
圖3-1矯直原理示意圖
1.工件主動驅動支撐組件2. 支架3. v型塊及導軌4. 數字千分表5.待矯軸
6.液壓沖頭7.可動支承8.從動回轉及支承組件9.工作臺
當待矯軸放入V型塊后,氣缸運動推動從動回轉中心將待矯軸頂緊,然后由步進電機帶動待矯軸轉動,每旋轉一個分度,數字千分表檢測待矯軸該位置的跳動度并通過RS-232串行總線傳送給單片機系統進行處理。經過對待矯軸進行試驗發現,96%以上的待矯軸的為弓型變形,只需在待矯軸上找出合適的位置實施單點矯直即可達到要求。
2 矯直機工件的定位與檢測元件設計
工件的準確定位與檢測是保證矯直機精度的基礎。主動回轉中心和從動回轉中心為安裝有精密軸承的頂針構成。當待矯軸放入V型塊后,氣缸推動從動回轉中心使主、從回轉中心的頂針將待矯軸夾持并頂緊。步進電機運動通過主動回轉中心帶動待矯軸一起旋轉,旋轉一周的過程中,數字千分表檢測出跳動度值,并由步進電機步數記錄相應的相位,根據檢測結果判斷待矯軸的最大彎曲量及其位置。當工件旋轉測量時,主、從回轉中心的軸線為測量基準,頂針和工件一起旋轉,數字千分表所檢測的工件表面跳動度值是相對于工件兩端頂針孔連線的跳動量,因此對頂針的旋轉跳動精度要求很高,這樣才能保證測量的重復精度。
本文對待矯軸跳動度的測量,沒有采用位移傳感器和角度傳感器組合的方式,生產的電子數顯千分表(下文稱“數字千分表”)進行檢測,如圖3-2所示,其量程為0—12mm,分辨率為0.001mm 。

3-2數字表分表
與傳統的位移傳感器和角度傳感器組合的測量方式相比,采用數字千分表大大簡化了系統的硬件結構和數據處理過程,單片機的串口通過RS-232總線直接與數字千分表進行通信,讀取數字千分表采樣的跳動度數據,千分表完成數據采集和轉換處理,而且數字千分表精度可達0.001 mm,完全能夠滿足檢測條件。
加載過程中,矯直行程采用千分表進行動態監控,方榮精機工業有限公司根據千分表當前檢測的跳動度值和初始值的差作為矯直行程。與傳統的通過控制驅動元件運動而控制行程的方式相比,通過千分表數據變化實時控制步進電機運動而控制矯直行程的方法有效地避免了由于傳動機構引起的誤差。
為了增大矯直機的矯直范圍,使矯直機在一定范圍內能滿足不同規格的待矯軸的矯直要求,設計過程中將v型塊設計成易于更換的模塊,針對不同規格的待矯軸設計不同規格的v型塊;v型塊支座和千分表支座的位置可以根據需要在底板上沿待矯軸的方向進行調整,以滿足不同長度的軸的矯直。
表3-1 MS-1型稱重傳感器及主要技術參數
量程((kg)2.5×103
靈敏度(mV/V)2.00±0.01
輸入電阻(Ω)385±10
輸出電阻(Ω)350±3
供橋電壓(V)10
在兩個V型塊支座下方分別安裝一個稱重力傳感器,實現對施加在待矯軸上的載荷的檢測。重傳感器,主要技術參數如表3-1所示。該傳感器采用鋼制“S”型結構,具有輸出特性好、結構緊湊、安裝方便等優點。
3 矯直機構驅動元件的選擇
步進電機是將電脈沖信號轉變為角位移或線位移的控制元件。在非超載(或稱非失步)的情況下,電機的轉速、停止的位置只取決于脈沖信號的頻率和脈沖數,而不受負載變化的影響。由于步進電機具有體積小、力矩大、低速平穩高速性好且易于控制等特點,因此步進電機在速度、位置等控制領域使用非常普遍。
滾珠絲杠傳動系統是一個以滾珠作為滾動媒介的滾動螺旋傳動體系。滾珠絲杠傳動系統的傳動效率高達90%-98%,為傳統的滑動絲杠系統的2~4倍,且能以較小的扭矩得到較大的推力,亦可由直線運動轉為旋轉運動(運動可逆)。滾珠絲杠傳動系統為點接觸滾動運動,工作中摩擦阻力小、靈敏度高、啟動時無顫動、低速時無爬行現象,因此可精密地控制微量進給。此外滾珠絲杠還具有高精度、高耐用性、同步性好、高可靠性等優點。采用滾珠絲杠傳動系統作為傳動體系是非常理想的選擇。

本設計中選用的滾珠絲杠為:公稱直徑為25mm;導程6mm。根據絲杠理論容許軸向載荷計算公式
(3-1)
其中:Fk—絲杠理論容許軸向載荷(N);
d2—絲杠螺紋底徑(mm)本設計中選用的絲杠d2=23mm;
—支承系數,本系統絲杠采用固定一自由的安裝方式, -2.6;
—軸承與螺母間的距離(mm), =32mm;
由以上參數計算得Fk=266×104N, 為了使用的安全性,絲杠工作容許軸向載荷應為絲杠理論容許軸向載荷的50%,則絲杠工作容許軸向載荷 ,
因此所采用的絲杠能滿足矯直要求。
4 液壓矯直機的工作過程
當被矯直軸類零件上臺以后,矯直機啟動矯直過程。先由傳感器檢測出軸類零件的彎曲情況,檢測數據交由控制系統加工處理,然后由控制系統控制各電機的動作,完成矯直過程。即先由電機驅動導輪使零件的最大彎曲處豎直向上,再由電機驅動壓力機小車將壓頭移到零件最大彎曲處,然后壓頭壓下完成第一次矯直過程。完成第一次矯直過程后,進行檢測。如果檢測結果顯示軸類零件的彎曲情況在允許范圍內,停機,完成本次矯直工作;如果檢測結果顯示矯直后的軸類零件不合格,則重復以上的矯直工作,直到軸類零件的彎曲在允許范圍內。液壓矯直機的工作過程可用框圖4-1表示。

圖4-1液壓矯直機工作過程框圖
更多矯直機原理及服務在方榮精機工業:400-0769-198 方榮精機集研發,生產,銷售為一體,15年臺灣矯直機技術,出口全世界50多個國家